Apple запатентовала складной смартфон с гибким экраном
Фото: Apple запатентовала складной смартфон с гибким экраном (uploadvr.com)
Компания запатентовала несколько разных вариантов конструкции
Компания Apple запатентовала складной смартфон с гибким экраном, сообщает Tom`s Hardware.
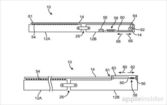
В патенте описывается смартфон, при создании которого предполагается использовать ряд гибких компонентов, включая OLED-экран и металлическую структуру.

"Причем, по задумке Apple, в качестве последней может применяться нитинол - сплав никеля и титана, известный своей эластичностью и эффектом памяти формы. А среди альтернативных вариантов в патенте Apple фигурируют гибкие полимеры", - отмечает издание.
На картинках патента представлена конструкция смартфона, включающая в себя шарнир, объединяющий верхнюю и нижнюю части iPhone. В верхней части, как подчеркивает издание, могут находиться камеры, контроллеры дисплея, модули акустической системы и сенсор освещенности, а в нижней части - микрофон, CPU, GPU, вибромотор и другие компоненты. Обе части объединены гибкими печатными платами.

"Причем в одном из примеров экран смартфона складывается вовнутрь, напоминая обычные раскладушки, а в другом - наружу, что позволяет использовать гаджет даже в сложенном состоянии", - сообщает издание.
Напомним, ранее Apple получила патент на спортивные наушники.