Apple запатентовала обычный бумажный пакет
16:02 20.09.2016 Вт
1 хв
Предполагается, что патент получен в рамках перехода на бумажную упаковку в Apple stores
Фото: Apple запатентовала обычный бумажный пакет
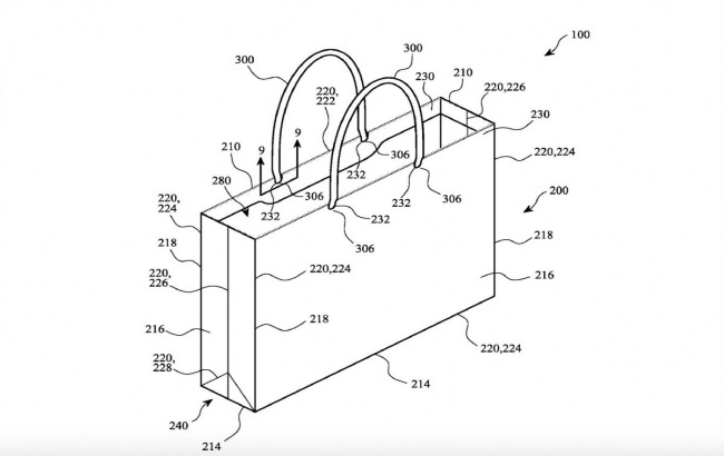
Компания Apple в сентябре получила патент на обычный бумажный пакет, сообщает Forbes.
Компания подала заявку на патент еще в марте этого года. В патенте изобретение называется бумажной сумкой для покупок, состоящей минимум на 60% из вторсырья.

Как отмечает издание, по всей видимости, в этом пакете нет никаких технологических приспособлений типа беспроводной зарядки или Bluetooth.
Недавно американская компания начала использовать в своих Apple stores бумажные пакеты вместо пластиковых.
"Вероятно пакеты будут выдаваться в магазинах Apple. Но какие особые потребности были у компании для получения патента – остается неясным", - отмечает издания.
Напомним, Apple запатентовала очки виртуальной реальности для iPhone.