Samsung изучает возможность выпуска голографических телевизоров
Фото: Samsung изучает возможность выпуска голографических телевизоров
О сроках практического внедрения патента на данный момент ничего не сообщается
Компания Samsung подало патентную заявку в управление США по патентам и торговым маркам на "Оборудование и средства голографического дисплея для обеспечения улучшенного качества изображения", сообщает 3dnews.ru
В заявке речь идет о новой системе формирования объемной картинки, которая будет избавлена от недостатков, присущих традиционным 3D-телевизорам – неприятные ощущения при длительном просмотре, ограниченное количество точек обзора, необходимость ношения специальных очков и тому подобное. В частности, в системе предусматривается возможность использования голографического 3D-эффекта.

"Для зрителя изображение будет выглядеть как бы парящим в воздухе. При этом для его просмотра не потребуются очки", - отмечает издание.
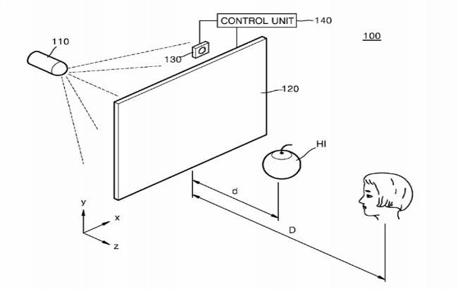
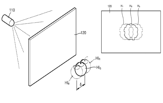
Описанный в патенте комплекс включает в себя лазерный источник света, блок управления, пространственный модулятор света, а также блок слежения за пользователем.

О сроках практического внедрения предложенной системы на данный момент ничего не сообщается.
Напомним, Samsung запатентовал сворачивающийся в рулон телевизор.