Apple запатентувала окуляри віртуальної реальності для iPhone
Фото: Apple запатентувала окуляри віртуальної реальності для iPhone (portaltele.com.ua)
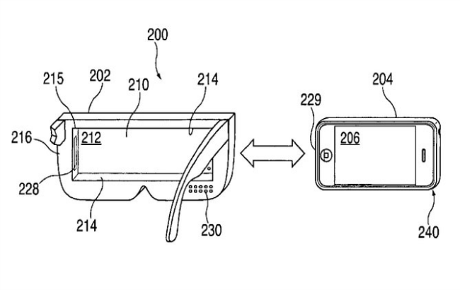
Пристрій планується обладнати вбудованими навушниками і лінзами
Американська компанія Apple запатентувала окуляри віртуальної реальності, призначені для смартфонів iPhone, повідомляє Український телекомунікаційний портал.
У патенті описуються окуляри віртуальної реальності, які можуть "з'єднуватися" з мобільним пристроєм з запущеним на ньому VR-додатком.

Фото: у патенті описуються окуляри віртуальної реальності
"Таким чином, окуляри допомагають зафіксувати дисплей пристрою приєднується перед очима користувача для перегляду контенту з ефектом присутності", - повідомляє видання.
Пристрій планується обладнати вбудованими навушниками і лінзами.
Як зазначає видання, на даний момент не відомо чи планує Apple впроваджувати запатентовані VR-очки.
"Великі IT-компанії часто патентують технології не для того, щоб відразу приступити до реалізації продукту, а, швидше, щоб захистити розробку авторськими правами швидше конкурентів", - підкреслює видання.
Нагадаємо, Apple запатентувала віртуальні кнопки для смартфонів.